Manşetler
Günün Haberleri
Arşiv
Sitene Ekle
Kahramanmaraş
Ekonomi
Gündem
Politika
Foto Haber
24
09:47
Gelip Görmek, Dönüp Anlatmak Gerek!
09:42
Nesibe Cebeci Kimdir? Nereli, Kaç Yaşında, Ela Rümeysa Cebeci ile Kardeş mi? Hayatı ve Kariyeri
09:39
Cenk Eren Vasiyetini Açıkladı mı? Neden Vasiyet Hazırlattı, Mirasını Nereye ve Neden Bağışlayacak?
09:37
Fatma Gül Teke Kimdir, Neden Vefat Etti? Cenazesi Ne Zaman ve Nereden Kaldırılacak?
09:34
Devran Bülbül Kimdir? Ne İş Yapar, RAMS Global’in Sahibi Kim ve Serveti Ne Kadar?
09:30
Ramy Bensebaini Galatasaray’a Transfer Oluyor mu? Bensebaini Kimdir, Kaç Yaşında, Mevkisi Ne?
09:19
Şehit Astsubay Kıdemli Başçavuş Talat Okur Kimdir? Memleketi Neresi, Rütbesi ve Görev Hayatı
09:07
İstanbul’da Tirşik Buluşması! Kahramanmaraş Lezzeti 12 Yıldır Yaşatılıyor
08:50
Kahramanmaraş’ta yollardaki Bozulmalar Hızlıca Onarılıyor!
08:46
Trabzon Bulvarında Altyapı Tamam, Üstyapı Onarımı Gerçekleştiriliyor!
Anasayfa
GOOGLE Haberleri
GOOGLE Haberleri
YouTube ve Gmail'e erişim sorunu
Samsung'dan Google açıklaması
Dijital ekonomi 'dijital hizmet vergisi' ile kayıt altına alınıyor
OPPO ve Google'dan yenilikçi kamera teknolojilerinde iş birliği
Teknoloji devleri TEKNOFEST'te yerini aldı
Google'dan sansürlü arama motoru
Google'ın ev sahibi 'çalışan vergisi' talep ediyor
GOOGLE'IN KURUCUSUNDAN 'UÇAN TAKSİ' İÇİN BÜYÜK ADIM
ANDROİD TELEFONLAR KULLANICILARI İSTEM DIŞI TAKİP EDİYOR
GOOGLE'A CİNSİYET AYRIMCILIĞI DAVASI
GOOGLE VE GODADDY'DEN IRKÇILIK KARŞITI HAMLE
PARİS MAHKEMESİ GOOGLE'I HAKLI BULDU
GOOGLE'IN ANA ŞİRKETİNİN HİSSE DEĞERİ REKOR KIRDI
TÜRKİYE DÜNYA DEVİNE CEZA KESTİ! TAM 300 MİLYON TL
FUCHSİA, ANDROİD'İN YERİNİ ALACAK MI?
GOOGLE VE İŞKUR İŞBİRLİĞİ İLE TÜRK YOUTUBER'LAR YETİŞECEK!
GOOGLE'IN YENİ İŞLETİM SİSTEMİ İÇİN İLK VİDEO YAYINLANDI!
GOOGLE'DAN KULLANICILARINA 'KİMLİK HIRSIZLIĞI' UYARISI
GOOGLE SAHTE HABERLERE ARAMA MOTORUYLA SAVAŞ AÇIYOR
GOOGLE'IN ÇİZİM ARACI AUTODRAW TANITILDI
Google onun ölüm fermanını imzaladı!
Google Japon teknoloji devini satın mı alıyor?
Google kararını verdi, resmen bedava oluyor!
Google, WikiLeaks sızıntısı için açıklama yaptı!
Google'dan uygun fiyatlı akıllı telefon geliyor!
Google'a "rekabet" soruşturması
Google'a soruşturma başlatıldı
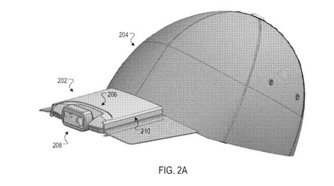
Google Akıllı Şapka'yı piyasaya sürmeye hazırlanıyor
Milyonlarca uygulama Play Store’dan kaldırılacak
YouTube'u internet olmadan seyretmek mümkün olacak!
ABD yargısı FBI’ın Gmail hesaplarına erişmesine izin verdi
Karşı gözüken teknoloji devleri Trump'a bağış yapmış!
Apple'ı geride bıraktı
Google, 200 internet sitesini engelledi
Haberler
Son Haberler
Manşetler
Kahramanmaraş
Ekonomi
Gündem
Politika
Foto Haber
Sağlık
Magazin
Spor
Eğitim
Kültür Sanat
Yazarlar
Video Haber
Ulusal
Biyografi
Personel Alım İlanları
Diğer İçerikler
Yazarlar
Gazete Manşetleri
Kurumsal
Künye
İletişim
Gizlilik İlkeleri
Kullanım Şartları
Geliştiriciler İçin